Zplynovací kotle ATMOS s úpravou pro hořák jsou moderním řešením, kdy do vrchních dvířek standardního zplynovacího kotle zabudujeme hořák na pelety ATMOS A25/A45.
Vytvoříme tak kotel na pelety přímo na míru s automatickým zapalováním paliva.
Hořák na pelety ATMOS A25 lze použít pro všechny zplynovací kotle do výkonu 40 kW (mimo DC50S - 45 kW s hořákem ATMOS A45), vybavené odtahovým ventilátorem (mimo modelů DCxxGD, DCxxGS, DCxxGSX).
Kotle s úpravou jsou vybaveny z výroby veškerým potřebným příslušenstvím pro snadné řízení kotle (hořáku) podle potřeb zákazníka a dvou teplot (čidel) na vyrovnávací nádrži TV a TS.
(Od výrobního čísla kotle 327 700 jsou kotle vybaveny: 2x modul AD03, přepínací vypínač, čidlo teploty kotle TK (KTF 20), čidla TV a TS (2x KTF20 - 5 m), termostatem na čerpadlo 70 °C, vývod pro čerpadlo v kotlovém okruhu.)
Zásobník na pelety a typ dopravníku zvolíme podle velikosti kotelny a tepelných ztrát objektu.
Standardně jsou v této variantě vyráběny tyto modely:
rozsah výkonu
původní palivo dřevo / pelety
- DC18S s úpravou pro hořák 20 / 6 - 20 kW
- DC22S s úpravou pro hořák 22 / 7 - 24 kW
- DC25S s úpravou pro hořák 27 / 7 - 24 kW
- DC30SX s úpravou pro hořák 30 / 7 - 24 kW
- DC32S s úpravou pro hořák 35 / 7 - 24 kW
- DC50S s úpravou pro hořák 49,9 / 13,5 - 45 kW (pro tento kotel je určen hořák ATMOS A45)
rozsah výkonu
původní palivo uhlí / pelety
- C15S s úpravou pro hořák 16 / 3 - 12 kW
- C18S s úpravou pro hořák 20 / 6 - 20 kW
- C25ST s úpravou pro hořák 25 / 7 - 24 kW
- C32ST s úpravou pro hořák 32 / 7 - 24 kW
- AC25S s úpravou pro hořák 26 / 6 - 20 kW
Kotle jsou zkonstruovány tak, že těleso kotlů je vyrobeno jako svařenec z kvalitních ocelových plechů o tlouštce 3 až 8 mm, které se skládá:
- z vrchní komory (6 mm), která je ve vrchní části opatřena dvířky s otvorem pro zabudování hořáku na pelety a ve spodní části opatřen zplynovací tryskou nebo otočným litinovým roštem pro snadné odstranění popela.
- ze spodního prostoru, který je opatřen keramickými tvarovkami pro ideální vyhoření všech spalitelných látek s vysokou účinností při ekologicky šetrném spalování, který slouží i jako popelník

s kompaktní nádrží na pelety
AZPU 400 C Design (400 l)
Výhody zabudování hořáku do standardního kotle
- Jednoduché a cenově přijatelné řešení
- Možnost vytápět komfortně peletami bez ručního přikládání
- Velký zásobník na pelety 240 - 1000 l / textilní zásobní, část kotelny jako zásobník = doplňování paliva jednou za 7 a 14 dní / jednou za rok
- Pohodlné a bezprašné vybírání popela s odtahovým ventilátorem jednou za 7 až 30 dní
- Automatické zapalování pelet zapalovací spirálou u hořáku již v základu
- Vysoká účinnost 89 až 92 % podle typu paliva a kotle a nastaveného výkonu = velká úspora nákladů na vytápění
- Ekologické spalování - kotle dle ČSN EN 303-5 třídy 5, EKODESIGN 2015/1189
- Chladící smyčka proti přetopení = bez rizika poškození kotle
- Automatické vypnutí kotle po dohoření paliva
- Malé rozměry a moderní design
Základní data certifikovaných kotlů
Hořák na pelety ATMOS A25 / A45
Dávkování paliva: externím šnekovým dopravníkem řízeným z elektronické regulace hořáku.
- Pro hořák A25 jsou určeny externí bezhřídelové dopravníky DA2000 o délce 2 m a dopravník DA2500 o délce 2,5 m, všechny o průměru 75 mm.
- Pro hořák A45 jsou určeny externí hřídelové dopravníky DRA50 o délce 2,5 m, 4 m a 5 m o průměru 80 mm.
Vrchní přikládací dvířka kotle jsou upravená pro zabudování hořáku ATMOS A25 / A45.
ATMOS A25 / A45
Hořáky ATMOS A25 / A45 je určeny pro kvalitní bílé pelety z měkkého dřeva bez kůry o průměru 6 až 8 mm, o délce 10 až 25 mm a výhřevnosti 17 - 19 MJ.kg-1. Výhodou těchto hořáků je automatické zapalování paliva pomocí žhavící spirály, která zapálí pelety kdykoli je potřeba zatopit. Hořák a kotel tak pracuje na plný výkon s nejvyšší účinností a nejlepší kvalitou spalování. Na rozdíl od řady konkurenčních výrobků, které nemají zapalovací zařízení a musí udržovat žhavou vrstvu ve spalovacím prostoru. Jsou tak provozovány při malém výkonu, kdy klesá teplota spalin pod 100°C. Tím dochází ke kondenzaci dehtů a kyselin ve spalovacím prostoru, ke zkracování životnosti kotle, nemluvě o nižší účinnosti, vyšší spotřebě paliva, horší kvalitě spalování, zanášení kotle a tedy k jeho častějšímu čištění.
Předepsané palivo: kvalitní dřevěné pelety (bílé) o průměru 6 až 8 mm, délce 5 až 25 mm a výhřevnosti 16 - 19 MJ.kg-1.
Displej hořáku: slouží k zobrazování aktuálního stavu hořáku a k nastavování jeho funkcí
Řízení hořáku: elektronickou regulací AC07X (AC07), která ovládá chod externího dopravníku, dvou zapalovacích spirál a ventilátoru dle požadavků kotle a topného systému. Elektronika je jištěná bezpečnostním termostatem kotle, bezpečnostním termostatem na přívodu pelet do hořáku, snímačem otáček ventilátoru a fotocelou pro snímání plamene. Chod hořáku je signalizován na displeji elektronické regulace.
Zapalování paliva: automatické za pomoci dvou elektrických zapalovacích spirál.
Základní funkce hořáku:
Možnost využití dvou rezervních výstupů R a R2 pro různé aplikace
Možnost zapojení čtyř různých čidel TS, TV, TK a TSV
TS - čidlo spodní na nádrži
TV - čidlo vrchní na nádrži
TK - čidlo kotle nebo prostřední čidlo na nádrži
TSV - čidlo spalin nebo solárního panelu
- řízení hořáku podle dvou teplot na vyrovnávací nádrži
- řízení ventilátoru kotle z hořáku za pomoci rezervního výstupu
- řízení kotlového čerpadla z hořáku za pomoci rezervního výstupu
- ovládání solárního systému přímo z hořáku
Pro kotle s úpravou pro hořák na pelety používejte dopravníky o minimální délce 2 m.
Pro hořák ATMOS A25 jsou určeny tyto dopravníky:
- Šnekový dopravník pro hořák ATMOS A25 typ DA2000 o délce 2 m a průměru 80 mm
- Šnekový dopravník pro hořák ATMOS A25 typ DA2500 o délce 2,5 m a průměru 80 mm
- Šnekový dopravník pro hořák ATMOS A25 typ DA3000 o délce 3 m a průměru 80 mm
- Šnekový dopravník pro hořák ATMOS A25 typ DA4000 o délce 4 m a průměru 80 mm
Pro hořák ATMOS A45 jsou určeny tyto dopravníky:
- Šnekový dopravník hřídelový DRA50 o délce 2,5 m a průměru 80 mm (převodovka 40 W)
- Šnekový dopravník hřídelový DRA50 o délce 4 m a průměru 80 mm (převodovka 40 W)
- Šnekový dopravník hřídelový DRA50 o délce 5 m a průměru 80 mm (převodovka 40 W)
Instalace
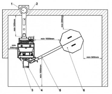
Při instalaci hořáku do vrchních dvířek zplynovacího kotle, je nutné použít dopravník o minimální délce 2 metry, tak aby délka hadice mezi dopravníkem a hořákem byla minimálně 20 cm z důvodu bezpečnosti.
Optimální délka hadice je však cca 40 cm, tak aby bylo možné snadno otevřít dvířka s hořákem na pelety při čištění spalovací komory.
Legenda: 1 - Komín | 2 - Kouřovod | 3 - Kotel | 4 - Hořák | 5 - Dopravník | 6 - Zásobník
Pro kotle s úpravou pro hořák na pelety používejte dopravníky o minimální délce 2 m.
Doporučené zapojení
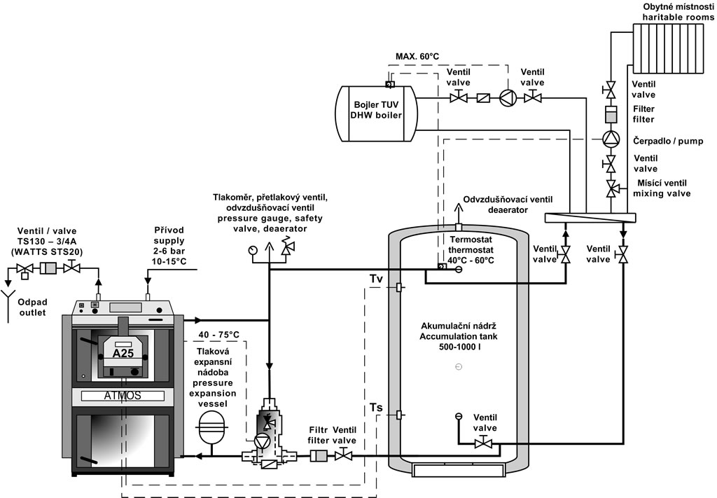
Doporučeným zapojením kotle je zapojení s Laddomatem 22 nebo termoregulačním ventilem a vyrovnávací nádrží o objemu 500 nebo 1000 l pro docílení nízké spotřeby paliva a vysoké životnosti hořáku a kotle. Pro další úsporu paliva (až 20 %) a správnou funkci nabíjení vyrovnávací nádrže použijte speciálně vyvinutou regulaci ATMOS ACD 01 nebo čidla TV a TS, které jsou určeny pro speciální funkce hořáku ATMOS A25.
Ideálním řízení hořáku je podle dvou čidel (TV a TS) na vyrovnávací (akumulační) nádrži. Řídící jednotka si hlídá natopení vyrovnávací nádrže zcela automaticky a zaručuje vždy dostatek energie pro topný systém. Tento způsob zapojení vám uspoří palivo, elektrickou energii a zvýší životnost hořáku na pelety.
INFO - Od 1.3.2017 jsou kotle s úpravou pro hořák vybaveny z výroby dvěma moduly AD03, přepínacím vypínačem, čidlem teploty kotle TK (KTF 20), termostatem na čerpadlo 70 °C a vývodem s konektorem pro čerpadlo v kotlovém okruhu.
Čidlo TK zasunuté v jímce kotle (z výroby), čidla TV a TS (příslušenství kotle od 1.3.2019) v jímkách na akumulační nádrži, vše společně zapojeno přímo do konektoru hořáku. Moduly (2x AD03) vloženy pod přístrojovou kapotu kotle a zapojeny na svorkovnici kotle. Oba moduly AD03 ovládají odtahový ventilátor kotle a čerpadlo v kotlovém okruhu.
Provedení kotlů 2016 obsahují pouze jeden modul AD02 pro ovládání odtahového ventilátoru.
Zapojení kolte s hořákem ATMOS A25/A45

Zapojení kolte s hořákem A25/A45 a elektronickou regulaci ACD01

Zplynovací kotle ATMOS s úpravou pro hořák na pelety A25 / A45 je možné si objednat přímo z výroby v levém nebo pravém provedení. Úpravu je možné provést pouze u kotlů vybavených odtahovým ventilátorem do výkonu 40/50 kW (mimo typu DCxxGS, DCxxGD). V případě, že budete chtít hořák zabudovat do již nainstalovaného kotle ATMOS, je možné si objednat speciální sadu pro jeho přestavbu. Sada se skládá z kompletních upravených dvířek, speciální elektroinstalace a příslušenství o 23 položkách.
Kotle s úpravou MODEL od 2017 jsou vybaveny (od výrobního čísla kotle 327 700): 2x modul AD03, přepínací vypínač, čidlo teploty kotle TK (KTF 20), čidla TV a TS (2x KTF20 - 5 m), termostatem na čerpadlo 70 °C, vývod pro čerpadlo v kotlovém okruhu.
Kotle s úpravou pro hořák na pelety Model od 2017 jsou již v základu dodávány se dvěma moduly AD03 pro ovládání odtahového ventilátoru kotle a čerpadla v kotlovém okruhu a dvěma čidly TV a TS pro řízení provozu podle dvou teplot na vyrovnávací (akumulační) nádrži.
Sada pro zabudování hořáku na pelety do vrchních dvířek
- s pravým otvíráním - hořáku A25 - kód: S0532 - staré provedení s AD02
- s levým otvíráním - hořáku A25 - kód: S0533 - staré provedení s AD02
- s pravým otvíráním - hořáku A25 - kód: S1222 - model 2017-2020
- s levým otvíráním - hořáku A25 - kód: S1223 - model 2017-2020
- s pravým otvíráním - hořáku A45 - kód: S0624 - staré provedení s AD02
- s levým otvíráním - hořáku A45 - kód: S0625 - staré provedení s AD02
- s pravým otvíráním - hořáku A45 - kód: S1224 - model 2017-2020
- s levým otvíráním - hořáku A45 - kód: S1225 - model 2017-2020
Pozor - hořák na pelety ATMOS A25 je možné nainstalovat pouze do zplynovacího kotle vybaveného odtahovým ventilátorem do výkonu 40 kW. Pro kotel DC50S o výkonu 50 kW je určen hořák ATMOS A45.